| নং | শিরোনাম | সেবার ধাপ | কার্যকলাপ |
|---|---|---|---|
| | |||
| ১ | মহিলা প্রশিক্ষন কেন্দ্র | দেখুন | |
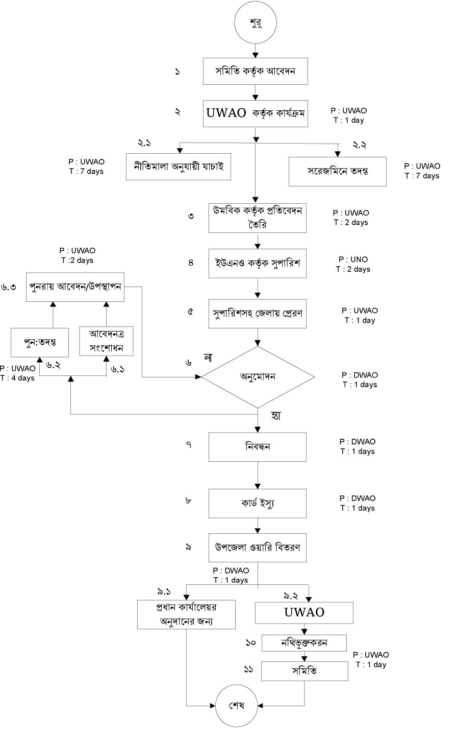
| ২ | স্বেচ্ছাসেবী মহিলা সমিতির রেজিস্ট্রেশন | দেখুন | |
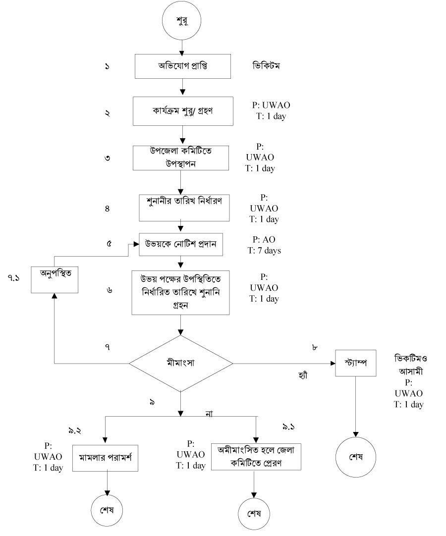
| ৩ | নারী ও শিশু নির্যাতন প্রতিরোধ | দেখুন | |
| ৪ | ক্ষুদ্র ঋণ কর্মসূচী | দেখুন | |
| ৫ | ভি,জি,ডি, বিতরন | দেখুন | |
| ৬ | কিশোরী ক্ষমতায়ন কর্মসুচী | দেখুন | |
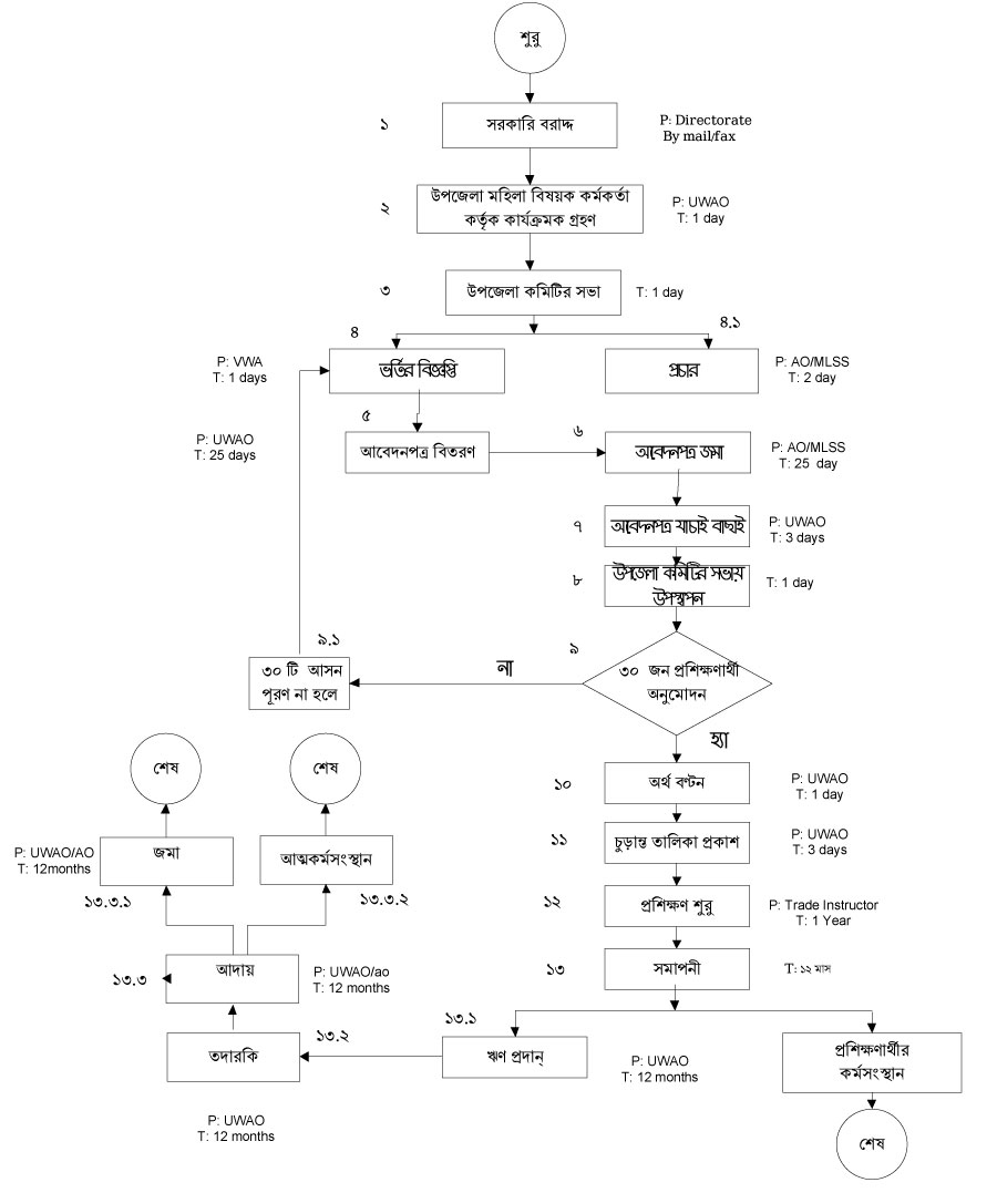
| ৭ | মহিলাদের জন্য বৃত্তিমূলক প্রশিক্ষন | দেখুন | |
| ৮ | দরিদ্র মা র জন্য মাতৃত্বকালীন ভাতা কর্মসুচী | দেখুন |